BLOG

Key technologies for animal cell suspension culture

Cell suspension culture technology refers to the large-scale and highly efficient culture of animal cells used in biological products under artificial conditions by using bioreactors.

2026-03-11

What is the process of microbial fermentation?

Fermentation is a process that has been utilized for centuries to produce a variety of goods including bread, beer, cheese, yogurt and sauerkraut. Microbial fermentation

2026-03-11

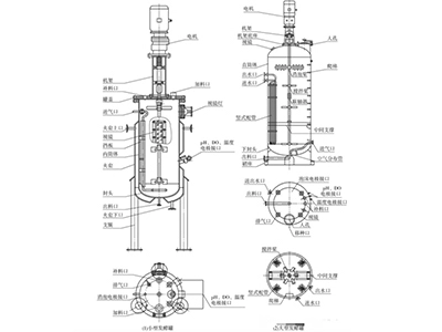
A Guide to Bioreactors

Experimental grade bioreactors, as opposed to industrial grade, are simply smaller, and in terms of process requirements, there is not really much difference. However, depending

2026-03-11

What is the theory of microbial fermentation?

What Exactly is Microbial Fermentation? Microbial fermentation is an essential metabolic process that occurs in microorganisms such as bacteria, fungi, and yeasts. It plays a

2026-03-11

The Heart of Industrial Fermentation: Design and Application of Mechanical Stirred Fermenters

Mechanical stirred fermenter requirements, principles and structure, a clear statement. Mechanical stirring fermenter is the more utilized and widely used aeration fermentation equipment, which is

2026-03-11

Why is microbial fermentation important?

Exploring the Benefits of Microbial Fermentation in Biotechnology Microbial fermentation is a biological process that has been used for centuries to produce a variety of

2026-03-11

What does microbial fermentation produce?

Study of the Products of Microbial Fermentation Microbial fermentation is the metabolic activity of microorganisms on organic compounds leading to a variety of end products.

2026-03-11

Bioreactor amplification, you should think about it more carefully

Recently learnt that a unit of a fermentation project, the construction of a good 3, 4 years, can not open up, probably because the fermentation

2026-03-11

Which microbes are used in photobioreactor?

As the search for alternative fuel sources continues, scientists and researchers are exploring the use of photobioreactor to cultivate microorganisms that can be used to

2026-03-11

What is a tank stirrer?

Types, Uses, and Benefits of Tank Stirrers A stirred tank reactor is also termed as a tank mixer or agitator. A mechanical device used for

2026-03-11

Experience with E. coli fermentation

Firstly, the feed rate and specific growth rate directly affect the production rate and accumulation of acetic acid (mainly because the feed rate and specific

2026-03-11

What are blending tanks used for?

Blending tanks: An Inevitable Equipments of Different Industries Blending tanks are commonly known as mixing tank or mixing tanks. They belong to a group of

2026-03-11